
(画像=iStock photo)
「選挙は買い」という「相場格言」があります。相場に関心がある方なら、一度は耳にしたことがあるかもしれません。これは「法則や理論から合理的に説明できないものの、経験的によく起きる現象」のことで、英語では「アノマリー」と言われます。言葉通り、国政選挙が実施されるタイミングで相場が底堅く推移し、選挙期間中に株価などが上昇した場面が、過去に何度も観測されてきました。しかし、この経験則はいつでも通用する「相場の法則」なのでしょうか。それとも、条件がそろったときにだけ機能する「限定的な現象」なのでしょうか。2月8日に投開票される第51回衆議院総選挙を前に、「選挙は買い」というアノマリーが、今の相場環境で成立し得るものなのか、日経平均株価とドル/円相場のチャートも使って検証してみます。
「選挙は買い」のアノマリー
「選挙は買い」というアノマリーは、日本の株式市場で長年語られてきた「相場格言」のひとつです。過去を振り返ると、国政選挙で与党が勝利し、政権安定に対する安心感や景気刺激策への期待感から株価が大きく上昇した例があります。
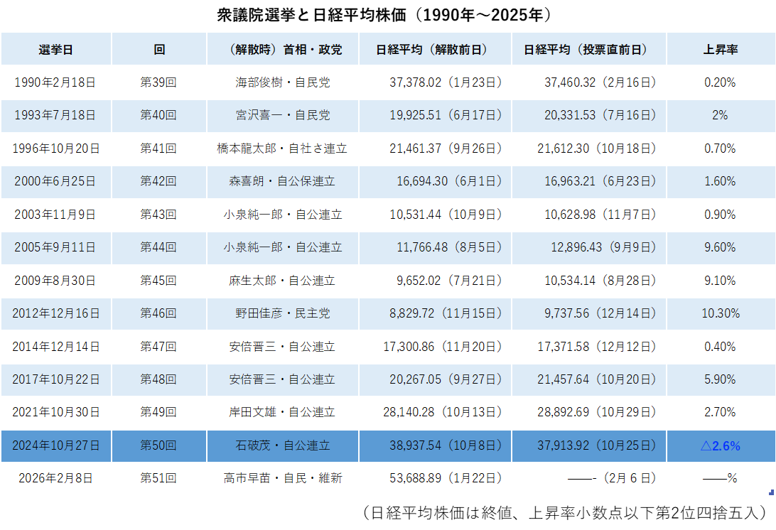
例1:2005年に実施された第44回衆議院選挙。小泉純一郎元首相が仕掛けた郵政民営化の是非を問う「郵政選挙」では、2005年8月8日(月)に国会が解散され9月11日(日)に投開票が行われ、自民党は圧勝しました。解散前日の8月5日(金)の日経平均株価の終値は11,766.48円、投票日を迎える週末直前の金曜日(9月9日)の終値は12,896.43円で約9.6%上昇しました。
例2:2012年の第46回衆議院選挙では、民主党からの政権奪取を賭けて安倍晋三元首相が挑み、過半数を大きく上回る大勝利を収めました。11月16日(金)に国会は解散、12月16日(日)に投開票が行われました。解散前日の11月15日(木)の日経平均株価の終値は8,829.72円、投票日を迎える週末直前の金曜日は9,737.56円で、約10.3%上昇、自・公連立が選挙で圧勝した翌日の12月17日(月)は、終値が9,828.88円、約11.3%の上昇となりました。
これは「選挙は買い」が機能した分かりやすい例です。それ以外の結果も一覧表にしてみました。

1990年以降12回あった衆議院選挙において、前回選挙の第50回衆院選を除き、投票直前までの日経平均株価は上昇しています。11/12回でアノマリーが機能しました。「選挙は買い」は、少なくとも「投票日の直前まで」という条件において、「かなり信ぴょう性が高い」と言えそうです。
「選挙は買い」は続かない
それでは投票日以降も、そのトレンドは継続するのでしょうか?投票日から1カ月後の日経平均株価も調べてみました。

1990年以降の衆院選で、投票日から1カ月後の株価を見ると、上昇しているケースが5回、下落しているケースが7回(青表示)でした。
上昇したケースについて、少し補足すると、1993年は自民党が分裂して、政界再編が始まった年です。バブルが崩壊し、自民党による金権政治に国民の不信感が高まっていた時期でした。細川護煕元首相が率いる日本新党が躍進し、自民党の単独過半数割れとなりました。政権交代による期待感が投票日以降もしばらく継続し、株価は上昇したと考えられます。
上述した通り、2005年は小泉元首相の強いリーダーシップの元に、構造改革が推し進められて、大胆な金融・経済政策が実施されたこと、2012年は民主党政権から安倍元首相が率いる自公連立政権に交代し、デフレ脱却を目指す「アベノミクス」に対する期待感から株価は継続して上昇したと考えられます。なお、2017年は米国でトランプ政権が誕生、世界的な株高が起きました。安倍元首相とトランプ大統領の良好な関係も伝えられる中、国内の選挙結果よりも、海外の状況が株価に影響を与えていたと思われます。
他方、下落しているケースは、選挙結果により、その後、政権の政策運営が難しくなり、経済環境に対する不透明感が強まるような局面で、株価が軟調に推移したとみられます。「選挙は買い」というアノマリーは、投票日以降になると「再現性がかなり低くなる」ということがわかりました。
何が「選挙は買い」と思わせているのか
「選挙が買い」の背景で、以下のような要素が市場心理に働きかけているとされています。

2024年10月に石破茂前首相のもとで行われた前回の衆院選では、自公連立与党が大幅に議席を減らし、18年ぶりの過半数割れとなる大敗北を喫しました。そして投票直前までの「選挙は買い」のアノマリーも35年ぶりに崩れました。上述したような市場心理が影響していたとみられます。
チャートで分析する第51回衆議院選挙と相場の行方
さて、第51回衆院選は2026年1月27日に公示され、2月8日(日)に投開票が行われます。今回の争点は物価高対策を含む経済政策、消費税の減税・廃止、外国人政策などです。
解散時の与党勢力は自民党196議席、維新34議席の合計230議席です。自民党総裁の高市早苗首相は、過半数となる233議席の獲得を目標ラインに掲げています。
ここで、CFDの「日経平均株価(日経225)」の足元のトレンドと「選挙は買い」というアノマリーはどのような場合に成立するのかを考えてみます。
1)依然として上昇トレンドの日経平均株価(日経225)
日経225(日足チャート)

日経平均株価は2026年1月14日に54,487円の過去最高値をつけた後も5万3千円台を維持しています。長期的な上昇トレンドは継続中です。1月末の終値は5万3千円台半ばで、高値圏ながらも大きな崩れはなく、2025年4月安値(3万0,792円)からみると、依然として強い相場が続いているといえます。
2026年1月上旬のデータから、日経平均株価は25日、75日、200日という3本の移動平均線で、強気のパーフェクトオーダーを形成しています。25日短期移動平均線が下値支持として意識される展開で、「選挙をきっかけに更に上に抜ける」「一旦の調整局面入りする」と言う両方のシナリオを想定する必要があります。
2)意識される支持線・抵抗線とアノマリー成立条件(チャート上の考え方)
足元の水準と過去の値動きから、次のゾーンが「意識されやすい水準」と考えるのが自然でしょう。
・上値抵抗イメージ:直近高値圏の5万4千円台〜5万4千5百円台(史上最高値ゾーン)
・下値支持イメージ:5万2千円台〜5万3千円台(直近の押し目形成ゾーン)
※数値はあくまでも目安です。実際はチャートでご確認ください
一般的にテクニカル分析において「選挙は買い」が成立しやすい条件は、以下のようになります。
・価格が25日移動平均線を上回って推移、押し目でこれらの線が支持として機能する
・過去高値ゾーン(史上高値や直近高値)を投票日前後の出来高増加とともに上抜けて「ブレイクアウト」する
※具体的な水準は最新のチャートでご確認ください
投票日前後で日経平均株価が史上高値ゾーンをしっかり上抜けて定着するようであれば、「アノマリー通りの株高相場」がテクニカル的にも裏付けられやすくなります。
逆に、高値圏での上ヒゲの多発や、重要な移動平均線割れが続く場合は、アノマリーに反して調整入りするリスクシグナルと考えられます。
※リアルタイムチャートで必ずご確認ください
3)ドル/円相場で株高は円安を呼ぶのか
長期的にみると、日経平均株価とドル/円相場は、「株高・円安」「株安・円高」という組み合わせになることが多く、しばしば、両者の間には「プラス方向の関係がある」と指摘されます。
日経平均株価とドル/円相場の相関

日経平均株価とドル/円相場に関する市場分析において、直近数年の相関係数について、概ね「0.6〜0.7」と試算するものがいくつかあります。
言い換えると「同じ方向に動きやすいが、常に一体というほどではない」というレベルの結び付きとみるのが妥当です。
4)ドル/円相場の足元のトレンドと節目
2026年1月に入ってドル/円相場は1ドル=150円台半ば〜後半で推移しています。1月30日終値は1ドル=154.76円で、かなり円安水準にあります。 1月中旬に一度158円台まで円安が進行した後、154円前後まで押し戻されています。短期的には高値圏での調整局面と言えます。
一般的なテクニカル分析では、次のようなゾーンが意識されやすいと考えられます。
・上値の節目:直近高値圏の1ドル=159円台、心理的節目の160円
・下値の節目:1ドル=150円台前半(節目の150円)、その下に中長期の上昇トレンドライン
※具体的な線の位置はチャートでご確認ください
この水準感から判断できるのは「円安トレンド自体は続いているが、直近はやや一服・ボラティリティ拡大局面」ということでしょう。
5)日経225上昇時の「連れ高」の可能性と独自要因
ちなみに日経平均株価が総選挙をきっかけに上昇する場合に考えられることは、
・リスクオン(株高)→円売り・外貨買い
・積極財政や金融緩和継続への期待→金利差縮小観測の後退
これらからドル/円相場が再び円安・ドル高方向を試すシナリオです。
ただしドル/円相場を動かす要因として以下のようなものも挙げられます。
・米連邦準備制度理事会(FRB)の利下げタイミング
・米国景気の減速懸念
・日本銀行の金融政策修正観測
こうした要因にも強く左右されるため、日本国内の選挙だけで「必ず円安要因になる」とまでは言い切れません。日経平均株価とドル/円相場の相関を意識しつつ、「別々のチャートとしてトレンド・節目を確認する」姿勢が重要です。
第51回衆議院選挙に向けたトレードシナリオ(CFD×FX)
私たちは今回の選挙を投資にどのように生かすべきなのか。投資初心者を想定して「トレードシナリオ」を用意してみました。なお、具体的なエントリー・損切り水準は、必ずご自身で最新チャートと資金量に考慮して再設定してください。
(1)アノマリー通り「株高・円安」のシナリオ
総選挙で連立与党が勝利、政権安定・積極財政・成長戦略への期待が高まる。世界的なリスクオン環境が続き、日本株の出遅れ修正期待も相まって日経平均が史上最高値を更新。金利差拡大観測や投資家のリスクオン姿勢から、ドル円も再び高値圏(159円台〜)を試す動き。
・日経225 CFD(日本N225)の押し目買い
直近高値ゾーン(史上高値圏)を、出来高を伴ってしっかりと上抜けた後に、ブレイクライン付近まで戻った押し目を「買い場候補」として検討する。押し目の下には、短期〜中期の移動平均線(5日・25日など)が集中しやすく、これらが支持として機能しているかを確認することがポイント。
・ドル/円相場で追随買い
日経平均株価が上にブレイク、ドル/円相場も直近の高値ゾーン(例:159円台)に近づく形で上昇を再開する場合、「株高・円安」の可能性が強まる。ドル/円相場では、これまでサポートとなっていた+1σラインの上抜け後の押し目や、短期移動平均線付近の反発を狙ったエントリーなど、トレンドフォローの基本パターンを踏まえた戦略が考えられる。
(2)アノマリー崩れ「株安・円高」のシナリオ
選挙結果が市場予想と大きく異なり、政権運営への不透明感が高まる。海外でリスクオフ要因(景気悪化、地政学リスクなど)が発生し、世界株安・円高に傾く。日本株の高値警戒感もあり、利益確定売りとロスカットが重なって調整が加速する。
・テクニカル的な撤退ライン(損切り)の明確化
日経225CFDの買いポジションを持つ場合、「ブレイクライン割れ(史上高値を超えたものの、再度その水準を明確に下回った)」や「直近の安値を下回った」、または「25日移動平均線を大きく割り込んだ」など、「シナリオが否定された」と判断できる水準をエントリー前に決めておくことが重要になる。
・リスクオフ局面での立ち回り
「株安・円高」が強まる局面では、日経225CFDを「売り」から入ることで、下落局面を狙うことが理論上可能です。同時に、ドル/円相場では、円高方向(ドル売り・円買い)ポジションが利益機会となりえる。ただし、ボラティリティ急拡大の可能性が高く、ポジションサイズを抑えた慎重な運用が求められる。
上述した内容は、いずれも取引イメージの一例です。必ずしもこうなるとは限りません。
今回の選挙と投資家が見るべきポイント
第51回衆議院選挙は、長きに渡った自公連立が解消され、自民党と日本維新の会で戦う初めての選挙です。国会の解散直前には、公明党と立憲民主党が合流して、「中道改革連合」という新党が生まれました。自民党総裁の高市首相が率いる連立与党で、衆議院の過半数233議席確保という目標ラインを超えるのかどうか注目が集まっています。
今、投資家たちが注目しているのは以下のような点でしょう。
・政権の安定度
・財政・金融政策の方向性
・日本株の出遅れ修正余地
そして、投資家心理としては、「与党優勢で積極財政シナリオを前提とした株高期待」と「世界景気や米金融政策の不透明感からくる慎重姿勢」の両者がせめぎ合う構図になりやすいのではないかと思います。
国政選挙の結果は市場に大きな影響を与えます。投票直前まで「選挙は買い」というアノマリーが機能する可能性は高そうですが、長期的には必ずしもそう言い切れません。「株高・円安」「株安・円高」の両方のシナリオを想定しながら、自分自身の資金に見合ったトレードプランを組み立てることが重要です。
なお、投資においてFXとCFDと言う金融商品を併用すると、FXのみならず、CFDも「売り」から入れるので、「株安局面でのヘッジ」や「短期的な下落トレード」に利用できます。そして、FXと組み合わせると、「日本株の下落リスクを日経225のショートでヘッジしつつ、ドル/円相場が円高方向に動いたときにも備える」といったポジション構成が可能になります。
このように株と為替の間にある相関を生かして、リスク管理がしやすくなるメリットがあります。選挙のような大きなイベントのときに、こうした金融商品を組み合わせてトレードすると、トレーダーとしてのスキルも向上するでしょう。
岩田仙吉(いわたせんきち)氏株式会社タートルズ代表/テクニカルアナリスト
2004年、東京工業大学から一橋大学へ編入学。専門は数理経済学。卒業後、FX会社のシステムトレードプロジェクトのリーダーになり、プラットフォーム開発および自動売買プログラムの開発に従事。その後、金融系ベンチャーの立ち上げに参画。より多くの人に金融のことを知ってほしいと思い金融教育コンテンツの制作に集中するために会社を創業。現在は、ハイリスク・ハイリターンの投資手法ではなく、初心者でも長く続けられるリスクを抑えた投資手法を研究中。
本サイトに掲載する情報には充分に注意を払っていますが、その内容について保証するものではありません。また本サービスは、投資判断の参考となる情報の提供を目的としたものであって、投資勧誘を目的として提供するものではありません。投資方針や時期選択等の最終決定はご自身で判断されますようお願いいたします。なお、本サービスの閲覧によって生じたいかなる損害につきましても、株式会社外為どっとコムは一切の責任を負いかねますことをご了承ください。
